液体涡轮流量计
涡轮流量计是一种精密流量测量仪表,测量无杂质、无腐蚀液体的流量和总量。它被广泛用于石油、化工、冶金、科研等领域。
一 、产品概述
1.1 应用场合 涡轮流量计是一种精密流量测量仪表,测量无杂质、无腐蚀液体的流量和总量。它被广泛用于石油、化工、冶金、科研等领域。
1.2 工作原理 当被测液体流过传感器时,在流体作用下,叶轮受力旋转,其转速与管道平均流速成正比。叶轮的转动周期地改变磁回路的磁阻值,检测线圈中的磁通随之发生周期性变化,产生频率与叶片旋转频率相同的感应电动势,经放大后,进行转换和处理。
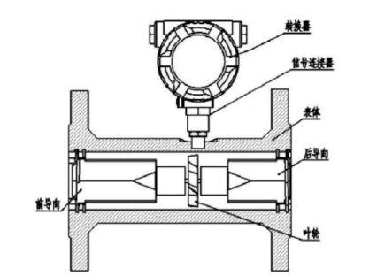
1.3 产品结构 涡轮流量计的基本结构如图 1-1 所示, 它主要由表体、前导向、后导向、叶轮、信号连接器和转换器等组成。
法兰型涡轮流量计结构图
二、仪表类型
2.1 转换器

脉冲输出型 防爆脉冲输出型 智能显示型 4-20mA 输出型
2.2 传感器

螺纹连接型 法兰连接型

配件: (卡箍、卡盘) 配件:(夹装法兰)

卡箍连接型 夹装连接型
(卡箍、卡盘非标配) (标配夹装法兰)
注: DN50 及以下口径的夹装连接型传感器与防爆脉冲型或 4-20mA 输出型转换器配套时需订制。
三、技术参数
3.1 流量特性
仪表口径(mm) | 常规流量范围(m³/h) | 扩展流量范围(m³/h) | 始动流量(m³/h) | 最大压损*¹(KPa) |
4 | 0.04~0.25 | 0.04~0.4 | 0.02 | 120 |
6 | 0.1~0.6 | 0.06~0.6 | 0.05 | 80 |
10 | 0.2~1.2 | 0.15~1.5 | 0.07 | 50 |
15 | 0.6~3.6 | 0.5~5 | 0.35 | 35 |
20 | 0.8~8 | 0.45~9 | 0.3 | 35 |
25 | 1~10 | 0.5~10 | 0.4 | 35 |
32 | 1.5~15 | 0.8~15 | 0.6 | 35 |
40 | 2~20 | 1~20 | 0.6 | 35 |
50 | 4~40 | 2~40 | 1 | 35 |
65 | 7~70 | 5~70 | 4 | 25 |
80 | 10~100 | 7~100 | 5 | 25 |
100 | 20~200 | 10~200 | 8 | 25 |
125 | 25~250 | 13~250 | 10 | 25 |
说明:
*1 最大压损是流量计工作在最大流量点时的压损,介质为水,常温。
*2 准确度等级 0.2 的产品需订制,且流量范围比常规范围小。
3.2 机械特性
被测介质 | 无杂质、低粘度、无强烈腐蚀性液体 | ||
执行标准 | 涡轮流量传感器(JB/T9246-1999) | ||
检定规程 | 涡轮流量计(JJG1037-2008) | ||
仪表口径及连接方式 | 法兰连接型 | DN15-DN200 | |
螺纹连接型 | DN4-DN50 | ||
夹装连接型 | DN4-DN200 | ||
卡装连接型 | DN4-DN100 | ||
法兰标准 | 常规标准 | GB/T 9113-2000 | |
其他标准 | 国际管法兰 | 如:德标DIN、美标ANSI、日标JIS | |
国内管法兰 | 如:化工部标准、机械部标准 | ||
螺纹规格 | 常规规格 | 英制管螺纹(外螺纹)(参照标准GB/T7307-2001) | |
其他规格 | 内螺纹、球面螺纹、NPT螺纹等 | ||
说明:*1 非国标法兰需订制; *2 非常规英制管螺纹需订制。
耐压等级
仪表口径(mm) | 连接方式及耐压等级 | |||
螺纹连接 | 法兰连接 | 卡箍连接 | 夹装连接(订制) | |
4 | 6.3Mpa((更高耐压等级) | ˉ | 1.0MPa | ≤42MPa |
6 | ||||
10 | ||||
15 | 4.0MPa(更高耐压等级可订制) | |||
20 | ||||
25 | ||||
32 | ||||
40 | ||||
50 | ≤26MPa | |||
65 | ˉ | 1.6MPa(更高耐压等级可订制) | ||
80 | ||||
100 | ≤15MPa | |||
125 | ˉ | |||
150 | ||||
200 | ≤11MPa | |||
材质说明
类型 | 表体 | 叶轮 | 前后导向 | 法兰或卡箍/卡盘 | ||||
常规 | 订制 | 常规 | 订制 | 常规 | 订制 | 常规 | 订制 | |
螺纹连接 | 304 | 316 | 2Cr13 | 双向钢 | 304 | 316 | ﹣ | ﹣ |
法兰连接 | 202/304 | 316 | ||||||
夹装连接 | 碳钢 | 304/316 | ||||||
卡箍连接 | 304 | ﹣ | ||||||
图 4-1 螺纹连接示意图

DN4~DN10 螺纹连接传感器(含直管段) DN15~DN50 螺纹连接传感器
DN4~DN10 螺纹连接传感器(含直管段) DN15~DN50 螺纹连接传感器
表 4-1 螺纹连接尺寸对照表
仪表口径(mm) | L*(mm) | H(mm) | G(外螺纹) | |||
脉冲型 | 防爆脉冲型 | 4-20mA 输出型 | 智能显示型 | |||
4 | 225 | 140 | 145 | 145 | 190 | G1/2 |
6 | 225 | 140 | 145 | 145 | 190 | G1/2 |
10 | 345 | 145 | 150 | 145 | 190 | G1/2 |
15 | 75 | 145 | 150 | 150 | 195 | G1 |
20 | 80 | 150 | 155 | 155 | 200 | G1 |
25 | 100 | 155 | 160 | 160 | 205 | G11/4 |
32 | 140 | 175 | 180 | 180 | 225 | G2 |
40 | 140 | 180 | 185 | 180 | 230 | G2 |
50 | 150 | 185 | 190 | 190 | 235 | G21/2 |
说明: 以上 DN4-DN10 流量传感器含出厂标配的直管段尺寸,DN15-DN50 口径流量传感器
不含直管段尺寸。
图 4-2 法兰连接示意图

表4-2 法兰连接尺寸对照表
仪表口径(mm) | L (mm) | D (mm) | K (mm) | d(mm) | n(孔数) | 标配耐压 | ||||
脉冲输出型 | 防爆脉冲输出型 | 4-20mA 输出型 | 智能显示型 | |||||||
15 | 75 | 95 | 65 | 175 | 180 | 180 | 225 | 14 | 4 | 2.5MPa |
20 | 80 | 105 | 75 | 185 | 190 | 190 | 235 | 14 | 4 | |
25 | 100 | 115 | 85 | 200 | 195 | 195 | 240 | 14 | 4 | |
32 | 140 | 140 | 100 | 210 | 215 | 215 | 255 | 18 | 4 | |
40 | 140 | 150 | 110 | 195 | 220 | 220 | 265 | 18 | 4 | |
50 | 150 | 165 | 125 | 230 | 235 | 235 | 275 | 18 | 4 | |
65 | 170 | 185 | 145 | 255 | 260 | 260 | 305 | 18 | 8 | 1.6MPa |
80 | 200 | 200 | 160 | 260 | 265 | 265 | 310 | 18 | 8 | |
100 | 220 | 220 | 180 | 285 | 285 | 285 | 330 | 18 | 8 | |
125 | 250 | 250 | 210 | 310 | 315 | 315 | 360 | 18 | 8 | |
150 | 300 | 285 | 240 | 345 | 345 | 345 | 390 | 22 | 8 | |
200 | 350 | 340 | 295 | 395 | 400 | 400 | 445 | 22 | 12 | |
接线说明 脉冲输出型 输出线定义
线材颜色 | 符号名称 | 接线内容 |
红色 | 24V+ | 供电电源:“24V+” |
白色 | 电源﹣ | GND |
黄色 | 脉冲 | 输出信号 |
防爆脉冲输出型

注:脉冲输出满足以下条件:
高电平幅值>22V,低电平幅值<0.8V, 脉冲频率≦3000Hz
4-20mA 电流输出型

注:电流负载电阻<500Ω
智能显示型
输出方式 | |||||||||
供电方式 | 显示 | 脉冲*1 | 当量脉冲*2 | 电流 | RS485 | ||||
两线制4-20mA | 三线制4-20mA | 三线制0-20mA | 四线制4-20mA | 四线制0-20mA | |||||
电池*3 | ● | ||||||||
DC24V | ● | ● | ● | ● | ● | ○ | ● | ||
电池+DC24V*4 | ● | ● | ● | ● | ● | ○ | ● | ||
AC220V | ● | ● | ● | ● | ○ | ● | |||
符号描述:●标配 ○选配 | |||||||||
说明:
*1 脉冲是指与叶轮转速成正比的脉冲信号,其频率与瞬时流量成正比;
*2 当量脉冲是指每达到单位累积量(如 1m3、1L 或 0.01L 等)时输出的脉冲信号;
*3 电池型号为 ER34615,寿命可达 2 年以上;
*4 电池型号为 ER26500,属于备用电池,若仅电池供电,寿命可达 1 年以上。
DC24V 供电接线说明


